|
機型 |
DH7 m) |
DK (mm) |
LX+2 (mm) |
C7 (mm) |
MS (Nm) |
JFA..27 |
25 |
25 |
22 |
16 |
20 |
|
JFA..37 |
30 |
30 |
22 |
16 |
20 |
|
JFA..47 |
35 |
35 |
28 |
18 |
20 |
|
JFA..57 JFA..67 |
40 |
40 |
36 |
18 |
40 |
|
JFA..77 |
50 |
50 |
36 |
18 |
40 |
|
JFA..87 |
60 |
60 |
42 |
22 |
80 |
|
JFA..97 |
70 |
70 |
42 |
22 |
80 |
|
JFA..107 |
90 |
90 |
50 |
26 |
200 |
|
JFA..127 |
100 |
100 |
50 |
26 |
200 |
|
JFA..157 |
120 |
120 |
50 |
26 |
200 |
注:MS為螺栓扭緊力矩
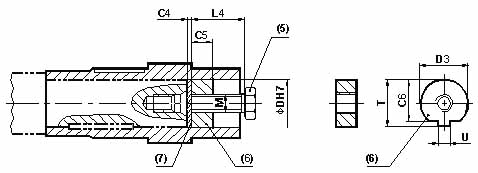
2) 拆卸


(5) 拆卸螺栓 (6) 拆卸螺母 (7) 拆卸擋圈
拆卸結(jié)構(gòu)尺寸表
|
機型 |
DH7
( Mm) |
M
(mm) |
C4
(mm) |
C5
(mm) |
C6
(mm) |
U-0.5
(mm) |
T-0.5
(mm) |
D3-0.5
(mm) |
L4
(mm) |
|
JFA..27 |
25 |
M10 |
5 |
10 |
20 |
7.5 |
28 |
24.7 |
35 |
|
JFA..37 |
30 |
M10 |
5 |
10 |
25 |
7.5 |
33 |
29.7 |
35 |
|
JFA..47 |
35 |
M12 |
5 |
12 |
29 |
9.5 |
38 |
34.7 |
45 |
|
JFA..57 JFA..67 |
40 |
M16 |
5 |
12 |
34 |
11.5 |
41.9 |
39.7 |
50 |
|
JFA..77 |
50 |
M16 |
5 |
12 |
43.5 |
13.5 |
53.5 |
49.7 |
50 |
|
JFA..87 |
60 |
M20 |
5 |
16 |
56 |
17.5 |
64 |
59.7 |
60 |
|
JFA..97 |
70 |
M20 |
5 |
16 |
65.5 |
19.5 |
74.5 |
69.7 |
60 |
|
JFA..107 |
90 |
M24 |
5 |
20 |
80 |
24.5 |
95 |
89.7 |
70 |
|
JFA..127 |
100 |
M24 |
5 |
20 |
89 |
27.5 |
106 |
99.7 |
70 |
|
JFA..157 |
120 |
M24 |
5 |
20 |
107 |
31 |
127 |
119.7 |
70 |